Sony a récemment déposé un brevet autour d’une technologie d’intelligence artificielle qui pourrait transformer la façon dont les joueurs apprennent à progresser dans les jeux, en particulier sur PlayStation. Cette innovation est centrée sur ce que Sony appelle un “Ghost Player” (joueur fantôme), une IA qui interviendrait directement dans un jeu pour aider le joueur à surmonter des passages difficiles ou même les terminer à sa place.
Une assistance in-game bien plus avancée que les tutoriels classiques
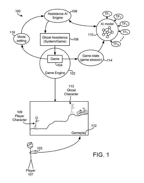
Dans le document de brevet publié par l’Organisation mondiale de la propriété intellectuelle (WIPO), Sony décrit un système qui fonctionnerait beaucoup plus profondément que les tutoriels traditionnels. Plutôt que d’afficher des messages ou des indices statiques, ce Ghost Player serait un avatar IA généré en temps réel capable d’agir dans le jeu lui-même, en copiant ou en montrant comment surmonter un défi précis.
Ce système est censé analyser la partie en cours, identifier quand un joueur est bloqué, puis choisir la meilleure façon d’intervenir. Il ferait cela en s’appuyant sur un modèle IA entraîné à partir de milliers d’heures de gameplay recueillies via des vidéos en ligne (YouTube, Twitch) ou les données du PlayStation Network.
Voici l'image officielle transmise par Sony, pour son brevet. On appréciera au passage le style artistique.
Plusieurs niveaux d’assistance envisagés
Le brevet évoque différents modes d’assistance que le Ghost Player pourrait offrir :
- Mode Guide, où le Ghost Player montre à l’écran comment franchir une étape, par exemple en exécutant les bons mouvements ou en illustrant les bons boutons à presser.
- Mode Complet, où l’IA va jouer à la place du joueur, terminant la section bloquante sans intervention humaine. L'IA remplace un peu le grand frère que vous possédez ou non.
- Dans les exemples donnés, une IA pourrait apparaître comme un Nathan Drake dans un jeu d’aventure pour illustrer comment résoudre un puzzle, ou tout simplement terminer ce segment pour vous.
Sony décrit ce système comme plus personnalisé et adaptatif que les aides actuelles : il ne s’agirait plus d’un simple indice générique, mais bien d’une assistance qui tient compte du contexte de votre partie et de votre progression spécifique.
Un futur tutoriel interactif intégré à la console
Ce n'est pas la première fois que Sony essaye d'incorporer un système d'assistance en jeu. On pense notamment au "Backsitting" déplaisant, souvent décrié dans certains jeux, comme God of War Ragnarok, dans lequel vos compagnons vont vous hurler l'action à effectuer ou la solution d'un puzzle sans rien avoir demandé. Il existe aussi l'outil d'assistance en jeu, censé montrer des captures d'écrans ou des vidéos pour aider le joueur lors de certains passages, mais ce système est sous-utilisé par les développeurs. Il n'est que rarement disponible.
Avec le Ghost Player, l’apport d’IA serait intégré directement dans la session de jeu, rendant l’aide potentiellement plus fluide et interactive.
Le brevet envisage même que l’IA puisse analyser des signaux supplémentaires comme le comportement du joueur ou d’autres données en temps réel pour ajuster son assistance, bien que ces éléments ne soient pas décrits en détail.
Une technologie prometteuse, mais pleine d'incertitude et de dangers
Il est important de souligner que ce brevet décrit un concept, pas un produit fini. Sony dépose régulièrement des brevets qui ne se retrouvent jamais dans les consoles ou les jeux commercialisés, donc rien ne garantit que cette technologie sera réellement implémentée, ni quand elle pourrait l’être.
La perspective d’une IA intervenant dans les jeux suscite aussi des débats chez les joueurs : certains voient dans cette approche une aide potentielle pour rendre les jeux plus accessibles, tandis que d’autres craignent qu’elle diminue le sens de l’accomplissement ou change fondamentalement le challenge attendu dans les jeux vidéo. De plus, une telle IA représente un problème similaire à celles entraînées éhontément avec les œuvres d'auteurs et d'artistes. Dans le cas présent, cela serait avec les vidéos de gameplay et les soluces des streamers et des sites de Soluce, qu'elle utiliserait ensuite pour guider le joueur. En plus du risque qu'elle fasse des erreurs, en cherchant à émuler un speedrunner par exemple, elle risque aussi de tuer la source de ses informations, si elle se généralise.
Il serait aussi intéressant de découvrir comment serait gérée cette fonctionnalité, dans des jeux dans lesquelles les conséquences peuvent être relativement graves. Par exemple dans un titre incorporant un mode Ironman/Hardcore, dans lequel la mort est permanente. Si le joueur laisse prendre la main à l'IA et qu'elle échoue, ce qui provoque la mort d'un personnage sur lequel il a passé des centaines d'heures qui est responsable ? Qu'on aime les IA ou pas, il ne fait aucun doute que cela peut donner naissance à des situations assez cocasses.









